
WZP-44SA固定法蘭隔爆熱電阻簡介
工業用隔爆熱電阻是一種溫度傳感器,上海自動化儀表三廠生產的WZP-44SA固定法蘭隔爆熱電阻在化學工業自控系統中應用極廣,通過溫度傳感器,可將控制對象的溫度參數變成電信號,傳遞給顯示、記錄和調節儀表,對系統實行檢測、調節和控制。在化工廠,生產現場常伴有各種易燃、易爆等化學氣體、蒸汽,如果使用普通的熱電阻非常不安全,極易引起環境氣體爆炸。因此,在這些場合必須使用隔爆型熱電阻作溫度傳感器,本廠生產的隔爆熱電阻產品適用在dⅡBT4~dⅡCT6溫度組別區間內具有爆炸性氣體危險的場所內。
本廠生產的隔爆熱電阻采用引進元件作為感溫元件,其技術性能符合JB/T8622-1997工業熱電阻技術條件條件和分度表,同時產品均符合爆炸性環境用防爆電氣設備通用要求GB3836.1-2000,GB3836.2-2000標準,由國家級儀器儀表防爆安全監督檢驗站對產品的圖樣、技術文件、樣機進行專門審定和批準,并發給防爆合格證。
WZP-44SA固定法蘭隔爆熱電阻主要技術參數
◆測量范圍:-200-500℃
◆分度號:Pt100
◆精度等級:A級 ±(0.15℃+0.002|t|),B級 ±(0.3℃+0.005|t|)
◆保護管材質:不銹鋼(304或321),其它材料請指出
◆熱響應時間:T0.5≤90S(在溫度出現階躍變化時,熱電阻的輸出變化至相當于該階躍變化的50%所需的時間,稱為熱響應時間,用T0.5表示)。
◆公稱壓力:6.4MPa(一般是指在常溫下,保護管所能承受的靜態外壓而不破裂,試驗壓力一般采用公稱壓力的1.5倍。實際上,允許公稱壓力不僅與保護管材料、直徑、壁厚有關,而且還與其結構形式、安裝方法、置入深度以及被測介質的流速、種類有關)。
◆熱電阻絕緣電阻:常溫絕緣電阻的試驗電壓可取直流10-100V任意值,環境溫度應在15~35℃范圍內,相對濕度應不大于80%,常溫絕緣電阻值應不小于100MΩ。
◆熱電阻允許通過電流:通過熱電阻的測量電流最大不超過5mA
◆防爆類型和級別
防爆級組:dⅡBT4或dⅡCT4;dⅡBT6或dⅡCT6
◆外殼防護等級:IP65
◆防爆標志、類別、級別、和溫度組別說明:
防爆標志:隔爆型(d)
電氣設備類別:I類-煤礦井下用電氣設備;II類-工廠用電氣設備
防爆級別:隔爆型熱電阻的防爆等級適用于爆炸性氣體混合物最大安全間隙或最小點燃電流比分為A、B、C、三級。
◆溫度組別:隔爆型熱電阻的溫度組別按其外露部分允許最高表面溫度分為T1~T6(T1=450℃,T2=300℃,T3=200℃,T4=135℃,T5=100℃,T6=85℃)六組。
隔爆型熱電阻原理結構
隔爆熱電阻與裝配式熱電阻的結構、原理基本相同,所區別的是,隔爆型產品接線盒(外殼)在設計上采用防爆特殊結構,接線盒用高強度鋁合金壓鑄而成,并具有足夠的內部空間、壁厚和機械強度,橡膠密封圈的熱穩定性均符合國家防爆標準。所以,當接線盒內部的爆炸性混合氣體發生爆炸時,其內壓不會破壞接線盒,而由此產生的熱能不能向外擴散、傳爆,由于產品采用上述防爆特殊結構,使產品完全符合使用在dⅡBT4至dⅡCT6防爆類別范圍內,只要用戶嚴格遵守產品使用規則,產品就能達到可靠的防爆效果。
隔爆型熱電阻使用選型

型號舉例:
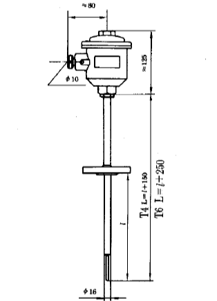
WZP-44SA表示分度號為Pt100的固定法蘭隔爆式接線盒,保護管直徑16mm的隔爆熱電阻
WZP2-44SA表示分度號為Pt100的固定法蘭隔爆式接線盒,保護管直徑16mm的雙支隔爆熱電阻
另外訂購時還需提供插深,使用溫度及材質等參數
安裝圖片
◆WZP-44SA固定法蘭隔爆熱電阻(法蘭外徑95 中心距65)



客服1