
45°角安裝底座簡介
上海自動化儀表三廠生產的45°角安裝底座或安裝凸臺,主要用于熱電偶,熱電阻和雙金屬溫度計與管道的斜式連接。
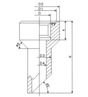
45°角安裝底座主要技術參數
◆量程范圍:0-800℃
◆適用范圍:主要適用于熱電偶,熱電阻和雙金屬溫度計或其它儀表的安裝
◆底座直徑:Φ40mm-Φ54mm等
◆底座材質:碳鋼,不銹鋼304,321,316或其它
◆底座高度:一般為60mm或根據需要
◆安裝方式:焊接式
◆底座重量:約0.2-0.5Kg
45°角安裝底座安裝圖片
◆45°角安裝底座
具體的安裝數據按著用戶的實際需要選用



客服1