
WRN-530活動法蘭防水接線盒直角熱電偶簡介
上海自動化儀表三廠WRN系列熱電偶是溫度測量儀表中常用的測溫元件,它可以直接測量各種工業生產過程中從0℃~1000℃范圍內的液體、氣體、蒸汽及固體表面的溫度,并把溫度信號轉換成熱電動勢信號,通過二次儀表轉換成被測介質的溫度。在實際應用中熱電偶有多種結構方式,但工作原理都是一樣的,因其結構簡單、制造方便、測溫范圍廣、精度高、慣性小和輸出信號便于遠傳等優點,所以在工業生產過程中得到極為廣泛的運用。
WRN-530活動法蘭防水接線盒直角熱電偶主要技術參數
◆測量范圍:0-1000℃
◆分度號:K分度
◆精度等級:Ⅰ級(±1.5℃或±0.004|t|)Ⅱ級(±2.5℃或±0.0075|t|)
◆熱電偶類別:鎳鉻-鎳硅
◆熱響應時間:(T0.5<90S)在溫度出現階躍變化時,熱電偶的輸出變化至相當于該變化的50%,所需要的時間稱為熱響應時間,用T0.5表示。
◆熱電偶公稱壓力:一般是指在室溫情況下保護管所能承受的靜態外壓而不破裂。實際上容許工作壓力不僅與保護管材料、直徑壁厚有關,還與其結構形式,安裝方法,置入深度以及被測介質的流速和種類等有關。
◆熱電偶最小置入深度:應不小于其保護管外徑的8~10倍(特殊產品例外)。
◆熱電偶絕緣電阻(常溫):常溫絕緣電阻的試驗電壓為直流500V±50V,大氣條件為溫度15~35℃,相對濕度45%,大氣壓力86~106kPa,它的常溫絕緣值應≥100MΩ。
◆執行標準:JB/T9238-1999
熱電偶工作原理
當有兩種不同的導體,其兩端相互焊接時,兩結點處的溫度不同,一端溫度為測量端或工作端,另一端溫度為自由端或冷端,當兩端溫度存在溫差時,就會在回路時產生熱電流,配上顯示儀表,儀表上就能顯示出熱電偶所產生的熱電動勢的對應溫度值。熱電偶的熱電動勢將隨著測量端或工作端的溫度升高而增長,熱電偶的熱電動勢的大小只和導體材質及兩端溫差有關,和導體的長度、直徑無關。
型號舉例:
WRN-530表示K分度活動法蘭帶防水接線盒,保護管直徑16mm的裝配式直角熱電偶,可為雙支。
WRN-520表示K分度活動法蘭裝置帶防濺接線盒,保護管直徑16mm的裝配式直角熱電偶,可為雙支。
另外訂購時還需提供插深,使用溫度及材質等參數。
熱電偶安裝圖片
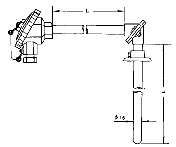
◆WRN-530活動法蘭防水接線盒直角熱電偶(法蘭外徑70 中心距54)



客服1